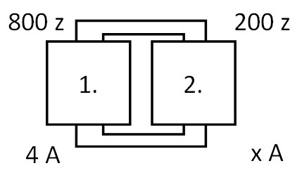
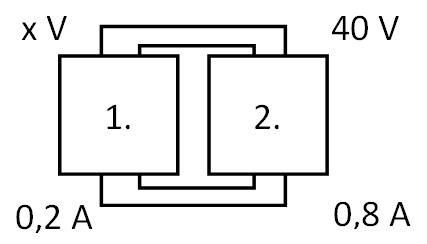
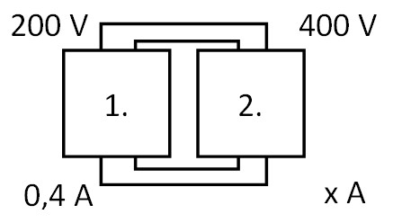
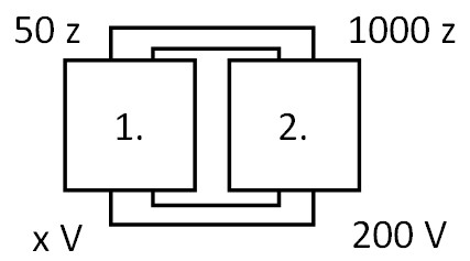
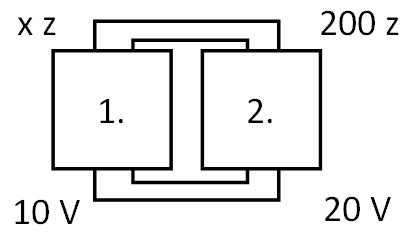
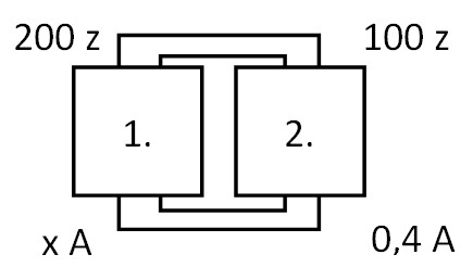
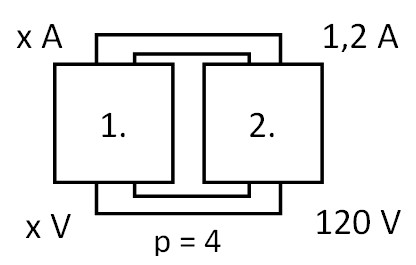
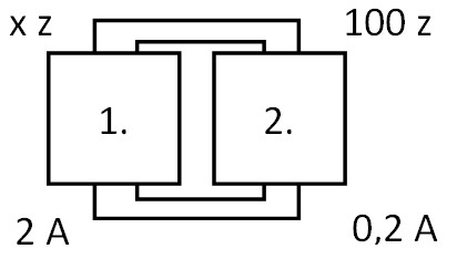
Transformační poměr
Vyber správnou hodnotu, která vyhovuje pro veličinu x
- x = 120 V
- x = 4 000 V
- x = 240 V
- x = 100 z
- x = 400 z
- x = 200 z
- x = 10 V
- x = 1 V
- x = 4 000 V
- x = 4 V
- x = 100 V
- x = 400 V
- x = 10 A
- x = 0,4 A
- x = 2,5 A
- x = 0,5 A
- x = 8 A
- x = 200 A
- x = 10 z
- x = 1000 z
- x = 20 z
- x = 900 z
- x = 100 z
- x = 600 z
- x = 1800 z
- x = 200 z
- x = 100 z
- x = 0,4 A
- x = 0,1 A
- x = 1 A
- x = 60 V
- x = 240 V
- x = 24 V
- x = 12 A
- x = 0,12 A
- x = 120 A
- x = 20 V
- x = 180 V
- x = 18 V
- x = 10 V
- x = 90 V
- x = 3 V
- x = 1 A
- x = 4 A
- x = 6 A
- x = 160 V
- x = 10 V
- x = 20 V
- x = 0,2 A
- x = 0,8 A
- x = 20 A
- x = 400 z
- x = 1600 z
- x = 3200 z
- x = 1000 z
- x = 250 z
- x = 300 z
- x = 6000 z
- x = 60 z
- x = 1800 z
- x = 16 A
- x = 1 A
- x = 200 A
- x = 0,2 A
- x = 0,8 A
- x = 4 A
- x = 400 V
- x = 25 V
- x = 1200 V
- x = 60 z
- x = 10 z
- x = 30 z
- x = 0,5 V
- x = 8 V
- x = 50 V
- x = 90 V
- x = 10 V
- x = 60 V
- x = 400 z, x = 1 A
- x = 100 z, x = 4 A
- x = 400 z, x = 4 A
- x = 50 z, x = 0,2 A
- x = 800 z, x = 3,2 A
- x = 50 z, x = 3,2 A
- x = 100 z, x = 9 A
- x = 900 z, x = 1 A
- x = 900 z, x = 9 A
- x = 2000 z, x = 60 V
- x = 80 z, x = 60 V
- x = 2000 z, x = 2,4 V
- x = 250 z, x = 6 V
- x = 4000 z, x = 96 V
- x = 250 z, x = 96 V
- x = 200 z, x = 360 V
- x = 1800 z, x = 360 V
- x = 200 z, x = 40 V
- x = 1600 z, x = 30 V
- x = 400 z, x = 120 V
- x = 1600 z, x = 120 V
- x = 0,4 A, x = 18 V
- x = 3,6 A, x = 18 V
- x = 0,4 A, x = 2 V
- x = 1,8 A, x = 9 V
- x = 0,2 A, 9 V
- x = 0,2 A, x = 1 V
- x = 4,8 A, x = 30 V
- x = 0,3 A, x = 30 V
- x = 4,8 A, x = 480 V
- x = 0,3 A, x = 60 V
- x = 7,5 A, x = 60 V
- x = 7,5 A, x = 12 V
- x = 1,2 A, x = 120 V
- x = 0,3 A, x = 30 V
- x = 0,3 A, x = 120 V
- x = 1 A, x = 1,2 V
- x = 0,04 A, x = 1,2 V
- x = 1 A, x = 1,2 V
- x = 8000 z, x = 120 V
- x = 80 z, x = 1,2 V
- x = 8000 z, x = 120 V
- x = 2400 z, x = 1 A
- x = 600 z, x = 0,5 A
- x = 6000 z, 2,5 A
- x = 60 z, x = 0,02 A
- x = 6000 z, x = 2 A
- x = 60 z, x = 2 A